
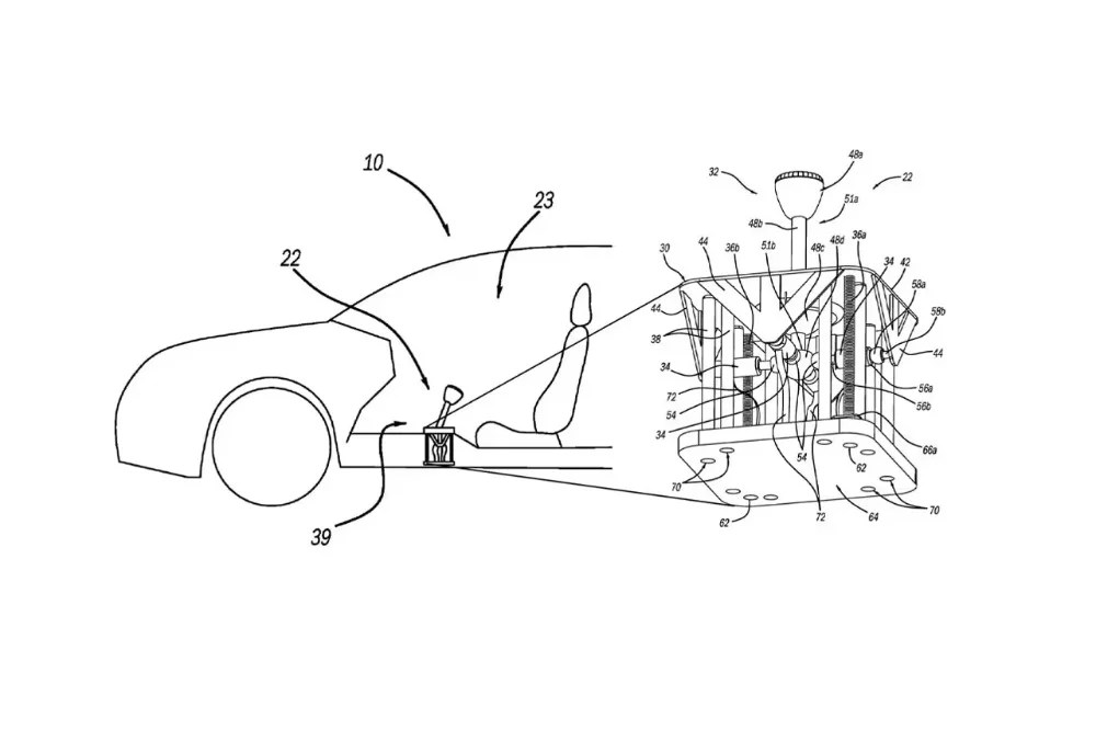
Ford ha appena registrato un brevetto per poter dotare le auto elettriche di cambio manuale.
Il brevetto, registrato il 20 marzo, parla di un “Shifter Assembly For Electric Vehicle”, ovvero l’assemblaggio di un cambio per veicolo elettrico, appunto.
L’idea è quella di replicare, ovviamente in maniera totalmente artificiale, la sensazione del cambio manuale.

Per il momento, la stragrande maggioranza delle auto elettriche non ha cambi manuali simulati.
Ci sono pochissime eccezioni, come ad esempio Hyundai Ioniq 5 N o Lexus RZ.
Le auto elettriche non hanno necessità di un cambio, di nessun tipo, ma Ford, così come altre aziende, ne stanno valutando l’utilizzo per ragioni puramente nostalgiche.

Una risposta a "Ford vuol dotare le auto elettriche di cambio manuale"